Технические характеристики предохранительных затворов
Предохранительные затворы представляют собой защитные устройства. Основная функция предохранительного затвора состоит в защите ацетиленовых генераторов и трубопроводов от проникновения в них пламени при обратном ударе. Кроме того, предохранительный затвор препятствует проникновению в генератор кислорода из горелки или резака, что может привести к взрыву. Под обратным ударом понимают воспламенение горючей смеси в каналах горелки или резака и распространение пламени по шлангу горючего газа. Горящая смесь, образовавшаяся при обратном ударе, устремляется по ацетиленовому каналу горелки или резака в шланг и при отсутствии предохранительного затвора - в ацетиленовый аппарат, что может привести к его взрыву. Это отрицательное явление возникает в случае, если скорость истечения горючей смеси станет меньше скорости ее сгорания, а также от перегрева и засорения канала мундштука горелки или резака.
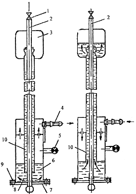
Предохранительные затворы могут быть двух типов - водяные (жидкостные) и сухие (механические). Внешний вид водяного затвора ЗСГ - 1,25, устанавливаемого на наиболее распространенных ацетиленовых генераторах АСП-10, показан на рис.74, а на рис.75 показана принципиальная схема работы данного вида оборудования для низкого давления ацетилена.

Рис. 74 Водяной затвор ЗСГ-425-4: А-от генератора; Б-к горелке; 1-ниппель;2-пламенепреградитель; 3-корпус; 4-гуммированный клапан; 5-колпачок; 6-штуцер; 7-пробка; 8-расекатель; 9-контольная пробка

Рис. 75 Водяной предохранительный затвор низкого давления для ацетилена: А-при нормальной работе; Б-в случае обратного удара; 1-вентиль; 2-трубка газоподводящая; 3-воронка; 4-выходной ниппель; 5-контрольный кран; 6-корпус; 7-дно затвора; 8-диск-рассекатель; 9-резиновая прокладка; 10-предохранительная трубка
Затвор состоит из цилиндрического корпуса с верхним и нижним цилиндрическими днищами. В нижнее днище затвора ввернут обратный клапан, состоящий из корпуса, обрезиненного клапана и колпачка, ограничивающего подъем клапана. Внутри корпуса (в верхней части затвора) расположен пламяпреградитель, а в нижней -рассекатель. Корпус затвора заполняют водой до уровня контрольного крана. Ацетилен, подводящийся по трубке, проходит через обратный клапан, а в верхней части корпуса - через отражатель и отводится к месту потребления чере расходный кран.
При обратном ударе ацетилено-кислородного пламени давлением воды клапан прижимается к седлу и не допускает проникновения ацетилена из генератора в затвор.
Пламя гасится столбом воды. После каждого обратного удара из затвора выбрасывается часть воды, которую необходимо дополнять до уровня контрольного крана. Это необходимо делать после каждого обратного удара, так как при недостатке воды ацетилен через затвор будет выходить в атмосферу.
Недостатком водяных предохранительных затворов является замерзание воды при работе на морозе. Поэтому в зимнее время их рекомендуется заливать морозоустойчивыми водными смесями этиленгликоля или глицерина. Приготавливают эти растворы смешиванием двух объемов этиленгликоля или глицерина с одним объемом воды. Температура замерзания таких жидкостей соответственно составляет -75°С и -36°С. Иногда применяют солевые растворы (NaCl и CaCL), но они вызывают коррозию стенок затвора, что накладывает ограничение на их использование.




