Техническое описание сварочных трансформаторов
По этой конструктивной схеме выполнены сварочные трансформаторы СТН-500 и СТН-500-1 для ручной дуговой сварки и трансформаторы с дистанционным управлением ТСД-500, ТСД-2000-2, ТСД1000-3 и ТСД-1000-4 для автоматической и полуавтоматической сварки под флюсом. Технические данные указанных трансформаторов приведены в табл. 12.
Схема конструкции трансформатора типа СТН системы академика В. П. Никитина и его внешние статические характеристики показаны на рис. 58. Магнитное рассеяние и индуктивное сопротивление обмоток (1и 2) трансформатора невелики, внешняя характеристика жесткая. Падающая характеристика создается за счет реактивной обмотки 3, создающей индуктивное сопротивление. Верхняя часть магнитопровода является одновременно и частью сердечника дросселя.

Рис. 58. Конструктивная схема трансформатора типа СТН (а) и его внешние характеристики (б):1 — первичная обмотка, 2 — вторичная обмотка, 3 — обмотка дросселя, 4 — подвижный пакет магнитопровода, 5 — рукоятка, 6 - магнитопровод
Величина сварочного тока регулируется перемещением подвижного пакета 4 (винтовым механизмом с помощью рукоятки 5). Напряжение холостого хода у этих трансформаторов 60—70 В, а номинальное рабочее напряжение Uном=30 В. Несмотря на объединенный магнитопровод, трансформатор и дроссель работают независимо друг от друга. В электротехническом отношении трансформаторы типа СТН не отличаются от трансформаторов с отдельными дросселями типа СТЭ.
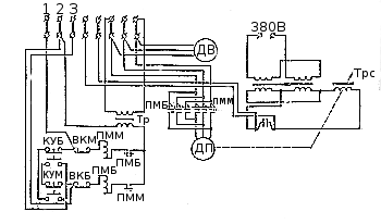
Для автоматической и полуавтоматической сварки применяют трансформаторы типа ТСД. Общий вид конструкции трансформатора ТСД-1000-3 и его электрическая схема показаны на рис. 59 и 60.

Рис. 59. Схема устройства трансформатора ТСД-1000-3: 1 — вентилятор, 2 — трансформаторные обмотки, 3 — магнитопровод, 4 — реактивная обмотка, 5 — подвижныый пакет магниторповода, 6 — механизм перемещения подвижного пакета, 7 — станина, 8 — зажимные панели, 9 — ходовая часть

Рис. 60. Электрическая схема трансформатора ТСД-1000-3: Тр — понижающий трансформатор, КУБ, КУМ — кнопки дистанционного управления сварочным током - «Больше», «Меньше», ПМБ, ПММ — магнитные пускатели, ДП — двигатель провода механизма перемещения пакета магнитопровода, ВКБ, ВКМ — конечные выключатели, ДВ — двигатель вентилятора, Трс — трансформатор сварочный
Сварочные трансформаторы типа ТСД имеют повышенное напряжение холостого хода (78—85 В), необходимое для стабильного возбуждения и горения сварочной дуги при автоматической сварке под флюсом.
Падающая внешняя характеристика трансформатора создается реактивной обмоткой.
Трансформатор типа ТСД имеет специальный электропривод для дистанционного регулирования сварочного тока. Для включения приводного синхронного трехфазного электродвигателя ДП с понижающим червячным редуктром служат два магнитных пускателя ПМБ и ПММ, управляемые кнопками. Перемещение подвижной части пакета магнитопровода ограничивается конечными выключателями ВКБ и ВКМ.
Сварочные трансформаторы снабжены фильтрами для подавления радиопомех. Кроме применения для автоматической и полуавтоматической сварки под флюсом, трансформаторы ТСД-1000-3 и ТСД-2000-2 применяются в качестве источника питания для термической обработки сварных соединений из легированных и низколегированных сталей.




