Технические характеристики сварочных трансформаторов
Промышленностью создан ряд новых переносных источников питания сварочной дуги переменным током - малогабаритные трансформаторы. Примерами таких трансформаторов являются, например, монтажные трансформаторы ТМ-ЗОО-П, ТСП-1 и ТСП-2.
Монтажный трансформатор ТМ-З00-П предназначен для питания сварочной дуги при однопостовой дуговой сварке на монтажных, строительных и ремонтных работах. Трансформатор обеспечивает крутопадающую внешнюю характеристику (с отношением тока короткого замыкания к току номинального рабочего режима 1,2—1,3) и ступенчатое регулирование сварочного тока, что позволяет выполнять сварку электродами диаметром 3,4 и 5 мм. Он однокорпусный, имеет малую массу и удобен для транспортирования. Трансформатор ТМ-З00-П имеет разделенные обмотки, что позволяет получать значительное индуктивное сопротивление для создания падающих внешних характеристик. Магнитопровод стрежневого типа набирается из холоднокатаной текстурированной стали Э310, Э320, ЭЗЗО толщиной 0,35—0,5 мм. Электрическая схема трансформатора приведена на рис. 64.

Рис. 64.
Электрическая схема трансформатора ТМ-300-П
Первичная обмотка состоит из двух катушек одинакового размера, полностью размещенных на одном стержне магнитопровода. Вторичная обмотка также состоит из двух катушек, из которых одна — основная — размещается на стержне магнитопровода вместе с первичной обмоткой, а вторая —реактивная —имеет три отпайки и размещается на другом стержне магнитопровода.
Реактивная вторичная обмотка значительно удалена от первичной обмотки и имеет большие потоки рассеяния, определяющие повышенное индуктивное ее сопротивление. Величина сварочного тока регулируется переключением числа витков реактивной обмотки. Такое регулирование тока позволяет увеличить напряжение холостого хода при малых токах, обеспечивая условия для устойчивого горения сварочной дуги.
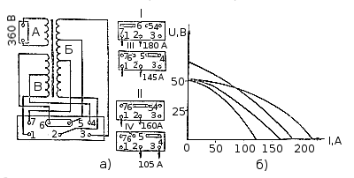
Первичную обмотку выполняют из медного провода с изоляцией, а вторичную обмотку наматывают шинкой. Обмотки пропитывают кремнийорганическим лаком ФГ-9, что позволяет повышать температуру их нагрева до 200° С. Магнитопровод с обмотками размешается на тележке с двумя колесами. Для сварки в монтажных условиях электродами диаметром 3 и 4 мм применяют облегченный сварочный трансформатор ТСП-1. Трансформатор рассчитан на кратковременную работу при коэффициенте загрузки поста менее 0,5 и электродах диаметром до 4 мм. Электрическая схема и внешние характеристики такого трансформатора показаны на рис. 65. Вследствие большого расстояния между первичной обмоткой А и вторичной обмоткой Б образуются значительные потоки магнитного рассеяния. Падение напряжения за счет индуктивного сопротивления обмоток обеспечивает крутопадающие внешние характеристики.

Рис. 65.
Электрическая схема трансформатора ТСП-1 (а) и его внешние характеристики (б):
I, II, III, IV — схемы преключения на различную величину тока; 1, 2, 3, 4, 5, 6,
7 — порядковые номера зажимов
Регулирование сварочного тока ступенчатое, как и у сварочного трансформатора ТМ-З00-П.
Для уменьшения массы конструкция трансформатора выполнена из высококачественных материалов — магнитопровод—из холоднокатаной стали, а обмотки — из алюминиевых проводов с теплостойкой стеклянной изоляцией.
Технические данные трансформатора ТСП-1 приведены в табл. 12.
Для сварки в монтажных условиях выпускаются также малогабаритные облегченные сварочные трансформаторы СТШ-250 с плавным регулированием сварочного тока и ТСП-2. Основные технические данные этих трансформаторов приведены в табл. 14.
Таблица 14. Технические характеристики трансформаторов СТШ-250 и ТСП-2
| Параметры | Тип сварочного трансформатора | |
| СТШ-250 | ТСП-2 | |
| Номинальный сварочный ток, А Пределы регулирования сварочного тока, А Номинальный режим работы, ПР% Напряжение холостого хода, В Напряжение питающей сети, В Потребляемая мощность, кВт Габариты, мм Масса, кг |
250 80-260 20 60 380 16,5 430 х 340 х 425 40 |
300 900-300 20 62 380 или 220 11,5 510 x 370 x 590 65 |




