Последовательность выполнения сварки плавящимся электродом
Металл сварочной проволоки расплавляется дугой и переносится каплями в сварочную ванну, не взаимодействуя с окружающим воздухом. Размер капель электродного металла зависит от состава металла и защитного газа, направления и величины тока. Так, с увеличением силы тока растет электродинамическая сила и размер капель расплавленного металла уменьшается. При достижении силы тока критического состояния капельный перенос металла переходит в струйный.

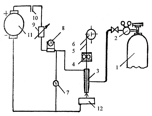
Рис. 30 Сварка плавящимся электродом на постоянном токе обратной полярности: 1-баллон с защитным газом; 2-редуктор; 3-горелка; 4-механизм подачи проволоки; 5-сварочная проволока (электрод); 6-катушка с проволокой; 7-вольтметр; 8-амперметр; 9-балластный реостат; 10-контакгор; 11-сварочный преобразователь; 12-свариваемые батареи
Источник питания должен обеспечивать надежное возбуждение сварочной дуги и поддерживать ее устойчивое горение, спо-собствовать благоприятному переносу электродного материала с минимальным его разбрызгиванием, иметь возможность настройки на необходимый режим. Для сварки плавящимся электродом применяют выпрямители, преобразователи и агрегаты. К наиболее универсальным выпрямителям относят аппараты серии ВДУ (рис.31), так как их электрические схемы предусматривают переключение для работы с жесткими и падающими внешними характеристиками. Эти выпрямители обеспечивают плавное дистанционное регулирование выходного тока и напряжения, стабилизацию при изменениях напряжения в сети.
Включение выпрямителей в силовую сеть защищено от кратковременных аварийных коротких замыканий автоматическим выключателем. Конструкции горелок, предна-значенных для подачи сварочной проволоки и защитного газа в зону электросварочной дуги, показаны на рис.32 и 33.

Рис. 31
Выпрямитель ВДУ-505УЗ: 1-блок управления; 2-уравнительный реактор;
3-автоматический выключатель; 4-блок обратной связи; 5-вентилятор; 6-силовой
блок тиристоров; 7-дроссель; 8-силовой трансформатор

Рис. 32 Горелка
ГДПГ - 603У4: 1-сопло сменное; 2-наконечник; З-щиток; 4-микропереключатель;
5-направляющий канал; 6-рукав для подачи газа и токопровод; 7-9-рукава для
подачи воды; 8-провод управления

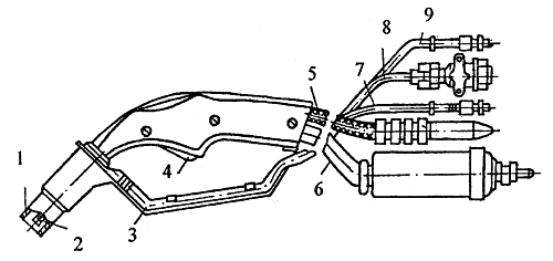
Рис. 33 Горелка
А-547УМУЗ :1-токосъемный наконечник; 2-сопло; 3-спираль; 4-втулка; 5-ручка;
6-трубка для подачи газа; 7-спираль; 8-плетенка; 9-втулки резиновые;
10-микропереключатель; 11-пружина
Стабильность сварочного шва зависит от постоянства длины дуги, которая обеспечивается за счет поддержания нужной скорости подачи электродной проволоки, равной скорости ее плавления. Так как одним из условий устойчивого горения дуги является высокая плотность сварочного тока, для сварки используют проволоку малых (0,8 - 2, 5 мм) диаметров, что требуе относительно больших скоростей ее подачи. При больших скоростях подачи проволоки регулировь параметров ручными методами выполнит практически невозможно. Поэтому дл поддержания стабильной дуги и для обеспечени процесса ее саморегулирования применяю источники питания постоянного тока с жестко или возрастающей внешней характеристикой.
К основным параметрам режима сварки плавящимся электродом относятся сила тока полярность, напряжение дуги, диаметр и скорость подачи проволоки, расход защитного газа, вылет электрода и скорость сварки. Несмотря на то, что при прямой полярности скорость расплавлени металла выше, в этом режиме не обеспечиваете стабильность горения дуги, и происходит интенсивное разбрызгивание металла. Поэтому сварку плавящимся электродом лучше выполнять при обратной полярности с непрерывной подаче проволоки, то есть в полуавтоматическом ил автоматическом режимах. Техника сварки в полуавтоматическом режиме практически не отличается от ручной дуговой сварки покрытым электродами. Сварку можно выполнять в любых пространственных положениях с использованием приемов удержания сварочной ванны. Металл толщиной до 4 мм сваривают без раздела кромок, а для улучшения условий формирования шва сварку лучше выполнять на остывающей подкладке из основного металла или на медной подкладке с формирующей канавкой.




