При автоматической сварке плавящимся электродом
механизируются операции по возбуждению дуги и перемещению ее по линии наложения
шва с одновременным поддержанием заданных параметров сварки. Сварочные
автоматы представляют собой устройства, предназначенные для
автоматической сварки. Конструктивно они могут выполняться на самоходных
тележках и в подвесном
варианте.
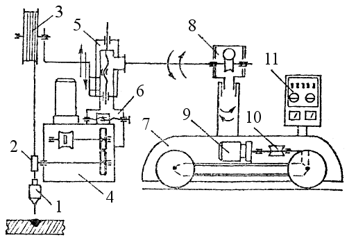
Представителями таких конструкций являются сварочный автомат на самоходной тележке (тракторного типа) серии АДФ (рис. 63) и сварочный автомат подвесного типа А-1400 (рис. 63-А).

Рис. 63 Сварочный автомат АДФ:
1-подающий механизм
(проволока); 2-бункер для флюса; 3-пульт управления; 4-подача флюса;
5-светоуказатель; 6-кассета электродной проволоки; 7-10-регуляторы положения
головки; 8-самоходная тележка; 9-рукоятка сцепления с приводом тележки

Рис.6З-А Сварочный автомат А-1400: 1-подаущий механизм; 2-суппорт; 3-механизм вертикального перемещения; 4-флюсовая аппаратура; 5-кассета с электродной проволокой; 6-пульт управления.
Все сварочные автоматы условно можно разделить на три группы, в зависимости от типа двигателя, применяемого для подачи электродной проволоки.
К первой группе относят автоматы, имеющие электродвигатель постоянного тока, обеспечивающий плавное регулирование скорости подачи проволоки в определенном диапазоне. Данная группа автоматов работает без блоков 3, 5, 7 и обеспечивает регулирование скорости подачи электродной проволоки в узком диапазоне напряжений сварочной дуги.
Вторая группа автоматов предусматривает регулировку скорости подачи электродной проволоки. Это обстоятельство значительно сказывается на производительности автомата.
Третья группа автоматов работает в полноценном режиме и лишена
указанных недостатков. Скорость подачи электродной проволоки регулируется в
широком диапазоне при помощи электронной схемы, что обеспечивает надежность в
работе и стабильный процесс сварки.
В состав сварочного автомата (рис.64)
входят:
- сварочная головка
- механизм подачи электродного или присадочного материала
- механизм перемещения, механизм настроечных, вспомогательных и корректировочных перемещений
- устройства для размещения электродного или присадочного материала
- газовая аппаратура
- системы управления
- источник сварочного тока

Рис. 64Автомат для сварки плавящимся электродом: 1-мундштук;
2-подающие ролики; 3-кассета; 4-механизм подачи
проволоки; 5-6-механизмы
вертикального и поперечного перемещения электрода; 7-тележка; 8-механизм
установки угла наклона электрода; 9-электродвигатель; 10-редуктор; 11 -пульт
управления
Сварочная головка - по праву считается основным узлом автомата. При помощи этого узла подается электродный материал в зону горения дуги, осуществляется подвод электрического тока, автоматически поддерживается процесс сварки и прекращается после ее завершения. Состоит сварочная головка из подающего механизма (с катушкой, кассетой или бухтой электродной проволоки), токоподводящего устройства, механизма перемещения электрода относительно сварочного шва, самоходной тележки и системы управления. Вспомогательная флюсовая или газовая аппаратура (за исключением баллона) тоже размещается на сварочной головке.
Перемещаться сварочная головка может по специальным направляющим или непосредственно по свариваемому изделию. Головка, имеющая механизм перемещения над сварочным изделием, называется самоходной. Если головка закреплена неподвижно над свариваемым изделием, то она называется подвесной. В этом случае относительно дуги изделие перемещается с помощью вспомогательного механизма.
Подающий механизм сварочной головки обеспечивает подачу сварочной проволоки в зону дуги. Конструктивно эти механизмы подобны тем, которые применяются в сварочных полуавтоматах. Подающий механизм оснащен устройством, которое выпрямляет поступающую сварочную проволоку.
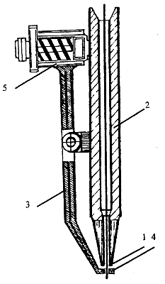
Токоподводящее устройство в головке обычно называют мундштуком или же сварочной горелкой. Мундштуки могут быть трубчатыми, колодочными, роликовыми или сапожковыми. Сапожковый мундштук (рис.65) состоит из токопроводящего наконечника 1, ввернутого соосно в направляющую трубку 2. К трубке 2 на шарнире прикреплена специальная вилка 3 сапожкового типа, на конце которой имеется износостойкая вставка 4, а на другом - прижимной механизм 5, состоящий из пружины и винта. Для ленточного электрода и порошковой проволоки применяют специальные мундштуки, конструкции которых существенно отличаются от рассмотренных.

Рис. 65 Сапожковый мундштук: 1-наконечник; 2-направляющая трубка; 3-сапожковая 4-вставка; 5-прижимной механизм.
Флюсовая и газовая аппаратура, применяемая в сварочных автоматах,
практически не отличается от аппаратуры, используемой в полуавтоматах.
Копиры
в сварочных автоматах предназначены для сварки с разделкой шва. Широкое
распространение получили роликовые копиры, автоматически направляющие электрод
по кромке шва. Кроме того, контроль положения электрода относительно кромки шва
может выполняться световыми указателями.
Управление сварочным автоматом представляет собой единую систему, выполняемую при помощи унифицированных блоков, из которых можно собрать любой комплекс управления. Технические характеристики автоматов для сварки плавящимся электродом приведены в таблице 23.
Применение в сварочном производстве полуавтоматических и автоматических установок позволяет существенно повысить производительность труда, доведя ее до предельных значений. Дальнейшее развитие автоматических установок осуществляется по схеме применения одновременной сварки в нескольких местах, то есть использование многодуговых сварочных автоматов. Преимущества данного метода сварки очевидны. Многодуговые сварочные посты занимают гораздо меньше места, снижают вероятность появления послесварочных деформаций, увеличивают производительность сварочного процесса.
Таблица 23
| Показатель | Тип сварочного автомата | |||||
| АГД-502У4 | АГД-6001УХП4 | АГД-602УХП4 | А4ЛГ-501УХЛ4 | А-406УХЛ4 | А-1181М (ТС -42) | |
| Наьиналь-ньй сварочный ток при ПВ-60%, А | 500 | 630 | 630 | 500 | 1000 | 500 |
| Диаметр электродной проволоки, мм | 1,2-2 | 2,4 | 1,2-3 | 1-2,5 | 2-5 | 1,2-3 ;; |
| Скорость подачи электрод ней проволоки (1*10-3м/с, | 33,3-200 | 11,1-167 | 33,3-266 | 33,3-333 | 4,7-153,6 | 2,8-278 |
| Источник сваренного тока | ВДУ-505-УЗ | ВДГ-601УЗ | ВДУ-601УЗ | ДЦУ-505УЗ | ВДУ-1201 | ПСГ-500-1УЗ |
| Пределы регулирования сварочного тока, А | 60-500 | 100-700 | 65-630 | 60-500 | 300-1250 | 60-500 |
| Гаоариты, МЧ | 845х365х 670 | 925x64Ох 700 | 770х450х 600 | 1300x850 Х1400 | 1010x890 х1725 | 570х310х 440 |
| Масса, кг | 60 | 85 | 60 | 450 | 215 | 36 |




