При механизированной сварке сварочная головка чаще всего разделена на две части — подающий механизм и держатель (при сварке в защитных газах — сварочная горелка), соединенные между собой гибким шлангом. Поэтому такие аппараты иногда называют шланговыми.
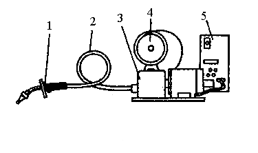
Сварочные полуавтоматы позволяют сочетать преимущества автоматической сварки с универсальностью и маневренностью ручной. Типовая схема полуавтомата показана на рис. 54. В их состав входят узлы:
- держатель 1
- гибкий шланг 2
- механизм подачи сварочной проволоки 3
- кассета со сварочной проволокой 4
- аппаратный шкаф, или шкаф управления 5.
Наиболее ответственным элементом полуавтоматов является механизм подачи проволоки. Его назначение и компоновка примерно те же, что и у сварочных головок автоматов для дуговой сварки. Обычно она состоит из электродвигателя, редуктора и системы подающих и прижимных роликов. Механизм обеспечивает подачу электродной проволоки по гибкому шлангу в зону сварки.

Рис. 54
Схема сварочного полуавтомата для дуговой
сварки
Приводом могут служить двигатели переменного или постоянного тока. Скорости подачи в первом случае изменяют ступенчато-сменными шестернями, во втором — происходит плавное регулирование за счет изменения частоты вращения двигателя. Конструктивное оформление механизма подачи во многом зависит от назначения полуавтомата. В полуавтоматах для сварки проволокой большого диаметра механизм подачи размещен на передвижной тележке и располагается в отдельном корпусе. В полуавтоматах с проволокой малого диаметра он установлен в переносном футляре и расположен непосредственно на корпусе держателя. Наибольшее распространение получили полуавтоматы толкающего типа. Подающий механизм подает проволоку путем проталкивания ее через гибкий шланг к горелке. Устойчивая подача в этом случае возможна при достаточной жесткости электродной проволоки. В полуавтоматах тянущего типа механизм подачи или его подающие ролики размещены в горелке. В этом случае проволока протягивается через шланг.
Такая система обеспечивает устойчивую подачу мягкой и тонкой проволоки. Имеются сварочные полуавтоматы с двумя синхронно работающими механизмами подачи, осуществляющими одновременно проталкивание и протягивание проволоки через шланг (тянуще-толкающий тип). Гибкий шланг в полуавтоматах предназначен для подачи электродной проволоки, сварочного тока, защитного газа, а иногда и охлаждающей воды к горелке. С этой целью применяют шланговый провод специальной конструкции. Сварочные горелки предназначены для подвода к месту сварки электродной проволоки, сварочного тока и защитного газа или флюса, а также для ручного перемещения и манипулирования им в процессе сварки. При этом сварщик удерживает держатель в руке и перемещает его вдоль шва. Быстро изнашивающимися частями держателя (при сварке в защитных газах — горелками) являются токоподводящий наконечник и газовое сопло, изготовляемые из меди. При сварке под флюсом на держателе устанавливается бункер для флюса (рис. 55). В полуавтомате используются приводы, работающие как на переменном, так и постоянном токе.

Рис. 55 Держатель полуавтомата для сварки под
флюсом
1 - наконечник; 2 - бункер для флюса; 3 - сварочная проволока; 4 -
ручка; 5 - шланг




