Набор оборудования, предназначенный для кислородной резки,
отличается от набора для газовой сварки только наличием резака, который заменяет
собой сварочную горелку. Резаки служат для образования смешивания горючих газов
или жидкостей с кислородом, образования подогревающего пламени и подачи в зону
реза струи чистого кислорода.
Отличаются резаки от сварочных горелок наличием
трубки и вентиля для режущего кислорода, а также особым устройством головки.
Резаки отличаются:
- по виду резки (для разделительной и поверхностной резки)
- по назначению (для ручной и механизированной резки)
- по роду горючего (ацетиленовые, для газов - заменителей, жидких горючих смесей)
- по принципу действия (инжекторные и безынжекторные)
- по давлению кислорода (низкого и высокого)
- по конструкции мундштуков (щелевые и многосопловые).
Наибольшее применение получили инжекторные щелевые резаки для разделительной резки со щелевыми мундштуками. Основные данные на такие резаки отражены в таблице 53.
Таблица 53. Характеристики инжекторных щелевых резаков
| Показатель | Данные показателя | |||||
| Толща нарезаемой тали, мм | 3-5 | 5-25 | 25-50 | 50-100 | 100-200 | 200-300 |
| Номер наружного мундштука | 1 | 2 | ||||
| Номер внутреннего мундштука | 1-2 | 2-3 | 3-4 | 5 | ||
| Давление режущего кислорода, кг/см | 3 | 4 | 6 | 8 | 10 | 12 |
| Расход кислорода, м³/ч | 3 | 6 | 10 | 15 | 26 | 40 |
| Расход ацетилена, м³/ч | 0,4 | 0,6 | 0,8 | 0,9 | 1,0 | 1,0 |
| Расход пропан-бутана, м³/ | 0,3 | 0,4 | 0,5 | 0,6 | 0,7 | 0,8 |
| Давление ацетилена, кг/см | 0,001 | |||||
| Давление других горючих газов, кг/см (не менее) | 0,005 | |||||
Каждый резак имеет рукоятку с запорно-регулировочными вентилями для кислорода и горючего газа, головку со сменными мундштуками, штуцеры со съемными вентилями и инжекторное устройство. На каждом маховичке вентилей нанесено наименование газа (кислород режущий, кислород и горючий газ), стрелки, указывающие направление вращения при открывании и закрывании («О»-открыто и «3»-закрыто). На сменных мундштуках наносят их номера и индекс, указывающий, для какого горючего газа они предназначены: «А» - ацетилен, «П»-пропан-бутан, «ПГ» - природный газ. Накидная гайка и штуцер, служащие для присоединения к рукоятке ниппеля для горючего газа, имеют левую резьоу. Кислородный ниппель присоединяется накидной гайкой с правой резьбой. На кислородном штуцере нанесена буква «К» (кислород).
Вставной резак (рис.108) превращает сварочную горелку в режущий инструмент. Он является самым удобным приспособлением для скашивания кромок изделий, которые должны присоединяться встык. Особенно удобны такие резаки при частых переходах от одной операции (от резки к сварке) к другой. Все вставные резаки конструктивно однотипны и различаются устройством головок и мундштуков, имеющих специальное назначение.

Рис. 108 Использование сварочной горелки в качестве резака путем применения вставочного резака
Инжекторные резаки отличаются разнообразием конструкций. Поэтому рассмотрим резак типа «Пламя» (рис.109), который используют для ручной разделительной резки низкоуглеродистых и низколегированных сталей кислородной струей с использованием подогревающего пламени, образуемого ацетиленом и кислородом. Технические характеристики этого типа резаков приведены в таблице 54.

Рис. 109 Резак типа «Пламя»: А-общий вид; Б-вид в разрезе;
В-вид сверху;
1-головка; 2-вентилятор кислородный; 3-инжектор; 4-кислородный
вентиль; 5-ацетиленовый вентиль; 6-ниппель кислородный; 7-ниппель
ацетиленговый
Таблица 54. Характеристики инжекторных резаков
| Показатель | Толщина разрезаемого металла | |||||
| 3-6 | 6-25 | 50 | 100 | 200 | 300 | |
| Номер мундштука -внутреннего -наружного |
1 1 |
2 1 |
3 1 |
4 2 |
5 2 |
|
| Давление ацетилена, кг/см² | Не ниже 0,01 | |||||
| Давление кислорода, кг/см² | 3,5 | 4 | 6 | 8 | 11 | 14 |
| Расход ацетилена, м3/ч | 0,6 | 0,7 | 0,8 | 0,9 | 1,0 | 1,2 |
| Расход кислорода , кг/см² | 3 | 5,2 | 8,5 | 18,5 | 33,5 | 42 |
| Ширина раза, ми | 2-2,5 | 2,5-3,5 | 3,5-4,5 | 4,5-7 | 7-10 | 10-15 |
| Скорость резки, мм/мин | 550 | 370 | 260 | 165 | 100 | 80 |
| Габаритные размеры, мм | 550x64x160 | |||||
| Масса, кг | 1,5 | |||||
Керосино-кислородные резаки конструктивно отличаются от обычных газовых, так как для получения высокотемпературного пламени необходимо превращение жидкости в парообразное состояние. Этот процесс происходит в передней части корпуса резака за счет тепла, получаемого вспомогательным подогревом или механическим распылением керосина кислородом. В последнем случае испарение керосина происходит в мундштуке.
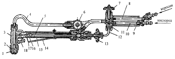
Конструкцию керосино-кислородного резака рассмотрим на модели РК-62 (рис.110). Такие резаки могут работать с применением пропано-бутановых смесей, но для этого нужно удалить оплетку с инжекторной трубки. Производительность резака при этом уменьшится. В зависимости от толщины разрезаемого металла в головке резака устанавливают различные внутренние мундштуки.

Рис. 110 Керосино-ислородный резак РК-62: 1-нутренний мундштук; 2-наружный мундштук; 3-головка; 4-труба ржущего кислорода; 5-асбестовая оплетка; 6-махоичок режущего килорода; 7-вентиль для керосина; 8-трубка подачи керосина; 9-рукоятка; 10-трубка для кислород; 11-корпус резка; 12-трубка подогревающего кислорода; 13-маховичок для регулироания подачи горючего; 14-щиток; 15-испаритель; 16-инжектор; 17-смесительная камера; 18-подогреающее сопло.




