Сварку неплавящимся электродом можно выполнять как на постоянном, так и на переменном токе (трехфазном или однофазном). Принципиальные схемы сварочных постов в среде защитных газов в зависимости от применяемого для питания дуги напряжения приведены на рис.34 и 35.

Рис. 34 Сварка неплавящимся электродом на переменном токе в инертном газе: 1-баллон с газом; 2-редуктор; 3-ротаметр; 4-горелка; 5-свариваемая деталь; 6-акумулятор; 7-дроссель; 8-дроссель высокочастотный; 9-вольтметр; 10-баластный реостат; 11-12-амперметры переменного и постоянного тока; 13-осцилятор; 14-трансформатор сварочный

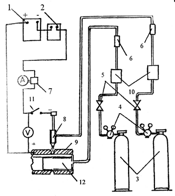
Рис. 35 Сварка неплавящимся электродом в инертных газах на постоянном токе: 1-сварочный преобразователь; 2-баластный реостат; 3-баллоны с защитным газом; 4-редуктор; 5-электрогазовый клапан; 6-ротометр; 7-шунт; 8-горелка; 9-свариваемое изделие; 10-ресивер; 11-контактор; 12-приспособление для защиты обратной стороны шва
Питание сварочной дуги однофазным переменным током требует более высокого напряжения холостого тока. Это связано с тем, что дуговой разряд происходит за счет термоионной эмиссии, что создает неодинаковые условия горения дуги при прямой и обратной полярности тока, когда положение анода и катода меняется местами. Так, в полупериоды обратной полярности тока, когда катодом является изделие, для возбуждения дуги требуется относительно высокое напряжение. После возбуждения дуги напряжение падает до некоторой постоянной величины и выдерживается при таком значении до смены полярности тока. При прямой полярности, когда изделие является анодом, дуга горит при более низких напряжениях. Поэтому в установках с однофазным переменным током для надежного возбуждения дуги используют генераторы импульсов высокого напряжения и осцилляторы. Кроме того, для устойчивого горения дуг применяют конденсаторные батареи.
Сварочные установки с трехфазным переменным током лишены этого недостатка, так как в них одновременно горит три дуги. В установках этого типа используется два вольфрамовых электрода, к каждому из которых подается отдельная фаза, а третья фаза подается к свариваемому изделию. Благодаря такой электрической схеме одновременно горит три сварочные дуги: две между каждой дугой и изделием, а третья (независимая) дуга - между электродами. Поэтому трехфазное питание предусматривает питание от источников с более низким напряжением холостого хода. Конструктивная схема горелок, применяемых в однофазном и трехфазном режимах, показана на рис. 36 и 37.

Рис. 36 Горелка для ручной дуговой сварки неплавящимся электродом: 1-керамическое сопло; 2-цанга; 3-корпус; 4-клапан газовый 5-рукоятка; 6-рукав

Рис. 37 Горелка для ручной дуговой сварки трехфазной дугой: 1-цанга; 2-вольфрамовые электроды; 3-колпачки; 4-керамическое сопло; 5-рукоятка
Основой сварочного поста для ручной сварки неплавящимся электродом в условиях мастерских и строительных площадок служит трансформатор. Хорошо зарекомендовали себя аппараты типа и-120УЗ («Разряд-250» и «Разряд-160»), которые хорошо переносят транспортировку и переноску (рис.38). Отличаются эти конструкции одна от другой трансформаторами. В установке «Разряд-250»состоит из трех ленточных магнитопроводов, а в установке «Разряд-160» - из двух.

Рис. 38 Питание сварочной дуги - устройство И-120УЗ («Разряд-250»): 1-щиток; 2-трансформатор; 3-стабилизатор; 4-заземление; 5-переключатель режимов работы
Поэтому для получения трехфазной дуги используют два стандартных трансформатора, соединяя их в электрическую схему треугольником. Технически характеристики устройств питания сварочной дуг типа И-У120УЗ приведены в таблице 12.
При сварке на постоянном токе к свариваемому изделию подключают положительную клемму, благодаря чему во время всего процесса сварки соблюдается прямая полярность и создаются лучшие условия для термоэлектронной эмиссии.
Таблица 12. Характеристики устройств питания сварочной дуги
| Показатель | "Разряд-250' | "Разряд-160" |
| Сварочный ток, А: -номинальный -предел регулирования |
43 90-250 |
43 60-160 |
| Число ступеней регулирования сварочного тока | 7 | 7 |
| Напряжение, В: -питания -холостого хода -номинальное рабочее |
380 60 +2 30 |
160 60 +2 26,4 |
| Продолжительность работы ПН, % | 20 | 20 |
| Частота следлвания стабилизируиалх импульсов, Гц | 100 | 100 |
| Габариты, мм | 350x310x480 | 350x310x480 |
| Масса, кг | 50 | 42 |




