Цветные металлы и их сплавы обычно наплавляют дуговой сваркой, что производительнее и эффективнее. Однако латунь наплавлять дуговым способом не рекомендуют, ввиду интенсивного испарения цинка при температурах, достигающих 900°С. Водород, поглощаемый жидким металлом из сварочного пламени, не успевает выделиться, так как латунь быстро остывает. Поэтому в охлажденном металле остаются пузырьки.
Пары цинка попадают в пузырьки водорода и там кристаллизуются, в результате чего наплавленная поверхность получается пористой Поэтому для латуни применяют газопламенную наплавку.
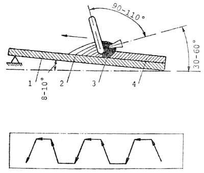
При наплавке латуни в качестве флюса используют буру, которую разводят в виде пасты и кистью наносят на наплавляемую поверхность, которую перед наплавкой тщательно зачищают до металлического блеска. Для наплавки можно использовать все виды горючих газов (ацетилен, пропан-бутан, керосин и т.д.). Мощность сварочного пламени должна быть такой же, как при сварке сталей, а конец ядра должен находиться от поверхности на расстоянии в 2 - 3 раза большем, чем при сварке. Наплавку ведут по возможности быстро.
В данной области используются установки проволочного и порошкового типов. Одна из них-установка УГПЛ показана на рис. 106.

Рис. 106 Установка УГПЛ: 1-щит управления; 2-газопламенный напылитель, 3-порошковый питатель; 4-редукторы
Она предназначена для ручного напыления термопластовых, цинковых и других материалов с температурой плавления 800°С. Используют в качестве напыляемого материала порошок. При работе используют ацетилен и воздух.
Применение порошкообразных флюсов.
Флюсами в виде порошков обрабатывают наплавляемую поверхность, что создает предпосылку для защиты сварочной ванны. При использовании порошкообразных флюсов не следует применять латунь с содержанием кремния более 0,3%, так как могут образоваться хрупкиепрослойки, снижающие прочность сцепления. Поэтому для наплавки чаще всего используют низкокремнистые латуни (ЛК-62-02 и др.). Перед наплавкой поверхность готовят, зачищают до металлического блеска, выполняют предварительный подогрев и после этого покрывают порошком флюса и приступают к наплавке. Сварочное пламя используют с небольшим избытком кислорода. Основные режимы, используемые при наплавке латуни, приведены в таблице 51.
Таблица 51. Режимы, используемые при наплавке латуни
| Толщина наплавляемого слоя, мм | Диаметр присадочного прудка, мм. | Номер сменного наконечника |
| 3-4 | 4-6 | 4 |
| 5-6 | 8-10 | 5 |
| 6-7 | 10-12 | 6 |
Газофлюсовая наплавка выполняется с применением газообразного флюса, например БМ-1, который вводят в пламя горелки при помощи специальных установок. При наплавке используют нормальное пламя, применяя в качестве присадочного материала кремнистую латунь. Схема процесса газофлюсовой наплавки приведена на рис.10бА. Процесс газрфлюсовой наплавки легче поддается механизации. Поэтому его выполняют на специальном оборудовании.

Рис. 106-А Газофлюсная наплавка: 1-наплавляемая деталь; 2-полуда;3-сварочная ванна; 4-слой наплавленного металла.




