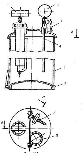
Использование жидких горючих смесей для сварочных работ весьма ограничено и применяется только при острой необходимости, когда невозможно выполнить другой вид сварки и только для неответственных конструкций. Для жидкого горючего применяют специальные бачки, в которых создают необходимое давление. Образец такого устройства представлен на рис.105. Внешне бачок напоминает паяльную лампу с манометром, но без горелки и несколько больших размеров. Давление в баке создается насосом 1 и контролируется манометром 2. Отбор горючего проводится через трубку 4 и тройник 7, снабженный запорным вентилем. Технические характеристики бачка для жидкого горючего приведены в таблице 46.
Сварку ведут горелками ГКР-1-67 или им подобными горелками. Мощность пламени устанавливают в зависимости от толщины свариваемых металлов, регулируя поступление горючего и кислорода. Расход жидкого горючего должен быть в пределах 180 - 200 г на 1 мм толщины свариваемого металла. Соотношение кислорода к жидкому горючему устанавливают 1,8:2 (кислород: жидкое горючее).
Выбор присадочной проволоки для этого вида сварки строго ограничен. Пользоваться марками Св-08 и Св-08А нельзя. Лучше всего подходит проволока марки Св-08ГС и Св-12ГС, в которых повышено содержание марганца и кремния. Это необходимо для компенсации этих выгоревающих элементов в процессе сварки.
Интенсивность пламени при керосино-кислородной резке ниже, чем при ацетилено-кислородной, поэтому зазор между свариваемыми деталями оставляют большим, чтобы пламя проникало на всю толщину свариваемого металла. Расстояние ядра пламени от свариваемых кромок соблюдают в пределах 3-4 мм, устанавливая мундштук горелки под углом 60 - 90°. Присадочную проволоку подают под углом 90° к оси мундштука. Сварку ведут как левым, так и правым методом.

Рис. 105 Специальный бачок для жидкого горючего
БГ-63:
1-насос; 2-манометр; 3-дужка; 4-трубка отбора горючего;
5-корпус; б-кольцо; 7-тройник имеющий запорный вентиль; 8-заглушка
Таблица 46. Бачки для жидкого горючего
| Показатель | Тип бачка | |
| ЕГ-63 | БГ-68 | |
| Емкость,л | 6,5 | 9,0 |
| Рабочее давление, кгс/см2 | до 3 | до 3 |
| Габаритные размеры, мм Высота Диаметр |
440 180 |
440 210 |
| Масса, кг | 3,7 | 4 |




