Под электрической безопасностью сварщика подразумевают комплекс мер, предупреждающих поражение электрическим током. Особенности организма человека таковы, что электрический ток силой от 0,05 А и более при частоте 50 Гц оказывается опасным и может вызвать смертельный исход.
Степень опасности электрического тока зависит от многих факторов, и в каждом конкретном случае может колебаться в значительных пределах. Но в любом случае считают, что для человека сила тока, проходящая через организм, не должна превышать 0,1 А. Поражение электрическим током происходит при прикосновении к токоведущим частям оборудования или проводки, находящимся под напряжением. В этом случае через тело человека проходит ток, сила которого зависит от величины напряжения и электрического сопротивления организма, которое меняется в зависимости от того, в каком состоянии человек находится (утомленность, расслабленность и др.). Принято считать, что величина электрического сопротивления тела человека равняется 1000 Ом, но в каждом конкретном случае эта величина может меняться.
Величина напряжения, под которым может оказаться человек, зависит от величины напряжения холостого хода источника питания сварочной дуги. Напряжение источников питания нормальной сварочной дуги обычно достигает 90 В, а сжатой дуги -200 В.
Исходя из этих величин нетрудно подсчитать силу тока, которая может пройти через тело сварщика, если он окажется под напряжением.

Из приведенного расчета видно, что в нормальных условиях электрическая безопасность сварщика обеспечивается, но при изменении условий (повышенная влажность, ослабленный организм и т.д.) эти условия могут резко измениться и сила тока станет опасной. Поэтому следует предусмотреть дополнительные меры, способствующие снижению силы тока, проходящей через тело сварщика.
Самым первым и наиболее эффективным средством защиты от поражения электрическим током является заземление оборудования и свариваемых деталей и обеспечение надежной изоляции.
В целях электрической безопасности напряжение холостого хода сварочного оборудования ограничивают до следующих величин:
- генераторы постоянного тока - до 80 А;
- трансформаторы - до 90 А.
Каждый сварочный аппарат обеспечивают отдельным заземляющим проводом, подсоединяемым непосредственно к заземляющей магистрали. Заземление источников питания выполняется до включения их в силовую сеть, а снятие их должно осуществляться только после отключения от силовой сети. Кроме этого применяют защитные ограждения, автоблокировки, индивидуальные средства защиты. Запрещается использование технологического оборудования, конструкций электроустановок и контура заземления в качестве обратного сварочного провода.
Электросварочное оборудование должно регулярно (не реже одного раза в месяц) подвергаться проверке на:
- отсутствие замыкания на корпус;
- целостность заземляющего провода;
- отсутствие оголенных токоведущих частей;
- отсутствие замыкания между обмотками высокого и низкого напряжения;
- исправность блокировок.
Подсоединение сварочных трансформаторов к электрической сети должно осуществляться:
- однофазных трансформаторов- при помощи трехжильного гибкого шлангового кабеля, третья жила которого должна быть подсоединена к заземляющему болту корпуса сварочного аппарата и к заземлительной шине источника питания вне коммутационного аппарата;
- трехфазных трансформаторов- при помощи четырехжильного кабеля, четвертая жила которого используется для заземления.
Провода, которые подключаются к сварочному аппарату, должны быть надежно
заизолированы и защищены от воздействия высокой температуры и механических
повреждений.
Все электросварочные установки должны быть надежно заземлены.
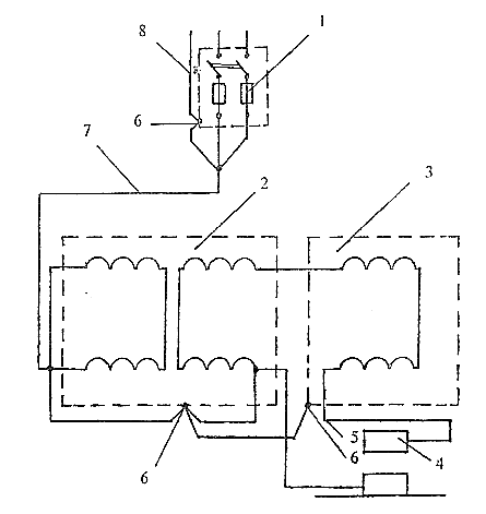
Схема подключения заземления сварочного трансформатора представлена на
рис.127.
Осматривать и чистить сварочную установку и ее пусковую аппаратуру следует ежемесячно. Сопротивление изоляции обмоток сварочных трансформаторов и преобразователей тока должно проверяться после окончания всех видов ремонтов, но не реже одного раза в год. Сопротивление изоляции обмоток трансформатора относительно корпуса и между обмотками должно быть не менее 0.5 МОм.
При вводе в эксплуатацию и после капитального ремонта изоляция сварочных трансформаторов должна в течение 1 минуты испытываться повышенным напряжением частотой 50 Гц, которое должно отвечать значениям, приведенным в таблице 64.

Рис. 127 Элекрическая схема подключения сварочного трансформатора. 1-источник питания; 2-сварочный трансформатор; З-регулятор; 4-электрододержатель; 5-шланговый одножильный провод; 6-заземляющий болт; 7-питающий шланговый трехжильный кабель с заземляющей жилой; 8-нулевой провод электрической сети
Таблица 64.
| Место прикладывания напряжения | Испытываемое напряжение В, при напряжении питания трансформатора, В | |
| До 380 | Вьше 380 | |
| Между первичной обмоткой и корпусом | 1800 | 2250 |
| Между вторичной обмоткой и корпусом | 1800 | 1800 |
| Между первичной и вторичной обмотками | 3600 | 4050 |
При наружных сварочных работах оборудование должно быть надежно защищено от дождя и снега. Наружные сварочные работы во время непогоды запрещены. Сварку в зимних условиях и во время дождя выполняют под специальным навесом или другим укрытием, следя за тем, чтобы рабочее место сварщика было сухим.
Во время выполнения сварочных работ сварщик должен соблюдать следующие требования:
- проверка (внешним осмотром) исправности изоляции сварочных проводов и электрододержателей, а также надежность соединения всех контактов -перед началом сварочных работ;
- предупреждать окружающих об ожидаемом зажигании дуги - при выполнении работ с подручным или в составе бригады;
- отсоединять от электрической сети передвижные сварочные аппараты - во время их перемещения;
- выключать сварочный аппарат - во время перерыва в работе и во время отсутствия сварщика на рабочем месте;
- устранять замеченные неполадки в сварочной установке - после снятия напряжения;
- пользоваться вместе с подручным средствами индивидуальной защиты: защитная каска, защитный щиток и очки (во время зачистки сварных швов), рукавицы из искростойких материалов и с низкой электропроводностью.
При работе в закрытых резервуарах должны соблюдаться дополнительные меры защиты. Для этого применяют защитные коврики, галоши и резиновые шлемы, а освещение выполняют переносными светильниками с напряжением не более 12 В. Кроме того, в этих условиях должен быть наблюдающий, обеспечивающий безопасность работ и при необходимости готовый оказать первую помощь пострадавшему.




